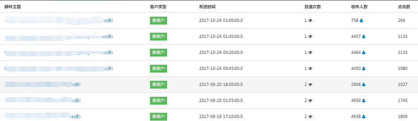
外贸邮件营销中;群发推广邮件,如果没有点读追踪功能,那么外贸人发了一次邮件没有回复后,一种可能会直接放弃重新找新的客源,也有可能几千个几万个客源地址再次盲目的群发,盲目群发之后仍然没有回复,再次盲目群发,如此如此盲目的营销下去,耗时、耗力、耗资源,没有效率的营销。
那么有了邮件点读追踪功能会有哪些好处呢?
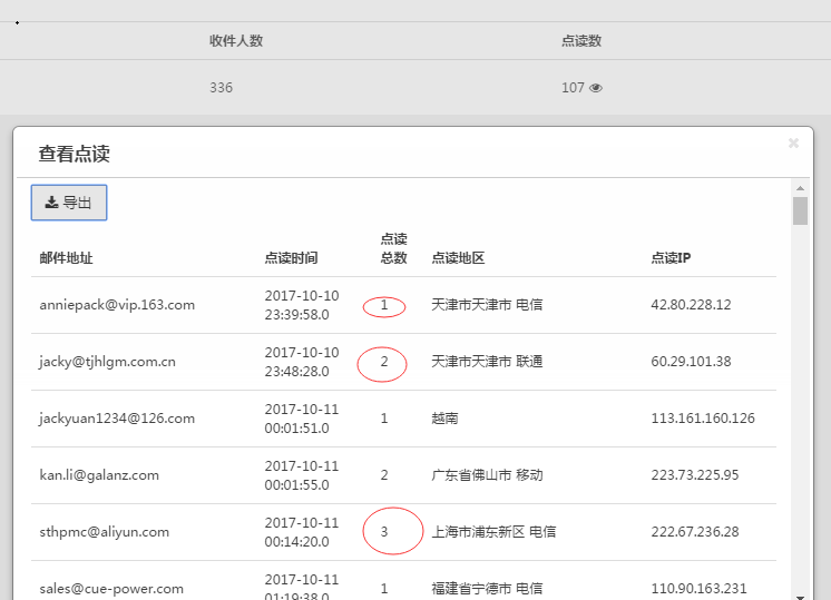
根据阅读次数快速筛选哪些是潜在的哪些是可能有意向但还没有回复的;


点读地址;时速外贸营销邮客户Janis,一直有邮件联系美国的一个客户,虽然客户没有回复,但是追踪到有点读并且都是美国地址。有一天忽然发现一封邮件的点读地址从美国变成了中国东莞,这个时候时候Janis知道客户来中国了,马上一封邮件写给客户,约其来工厂见面,不久之后就与客户确定合作了。
综合以上,外贸群发邮件追踪点读重要性由此可见了。
时速外贸营销邮:全球畅通、无需配置发件箱、群发单显、跟踪统计、垃圾信息过滤等于一体的外贸客户营销平台。10余年邮件与外贸运营基因,助您主动开发客户提升3倍以上营销效果 !www.waimaoyou.cn
全国统一销售热线:013828814575 全国统一客服热线:0755-88843705 全国统一报障热线:018938058194
服务QQ:964081632 服务投诉QQ:417476504 投诉邮箱:ceo@21gmail.com
公司地址:深圳市龙岗区大运软件小镇1栋3楼(地铁3号线/公交 大运站A出口 | 机荷高速 龙岗出口)
版权所有 © 2003-2023 深圳市科飞时速网络技术有限公司 | 粤ICP备10063542号 |